Sorry, but there's really nothing to see here right now. Our server is in maintenance mode – and our
little bot is trying to sort the error messages with its last bit of energy.
Whether it was a data leak, a power outage in the cluster, or just a grumpy bit – we don't know yet.
But what we do know is:
The data drama escalated into a server meltdown. But don't worry: We're on it.
What now?
Everything is surely running smoothly over at our colleagues from inside
digital – why not stop by!
Or you could pass the time by visiting our social media channels – for example Instagram, YouTube or TikTok. At least there are no
server problems there – promised.
Thanks for your patience. Our bot is already rebooting at full speed. 🔧
NewsTabletJust like magic: Future Apple Pencils may sample real-life colors
The Apple Pencil (2) is far from a perfect stylus due to a few caveats like a missing eraser end and limited compatibility to older iPads. Although those issues might be solved with the Pencil 3, a new patent uncovered suggests future Apple pens could bring more advanced solutions such as capturing color and texture samples from the real world.
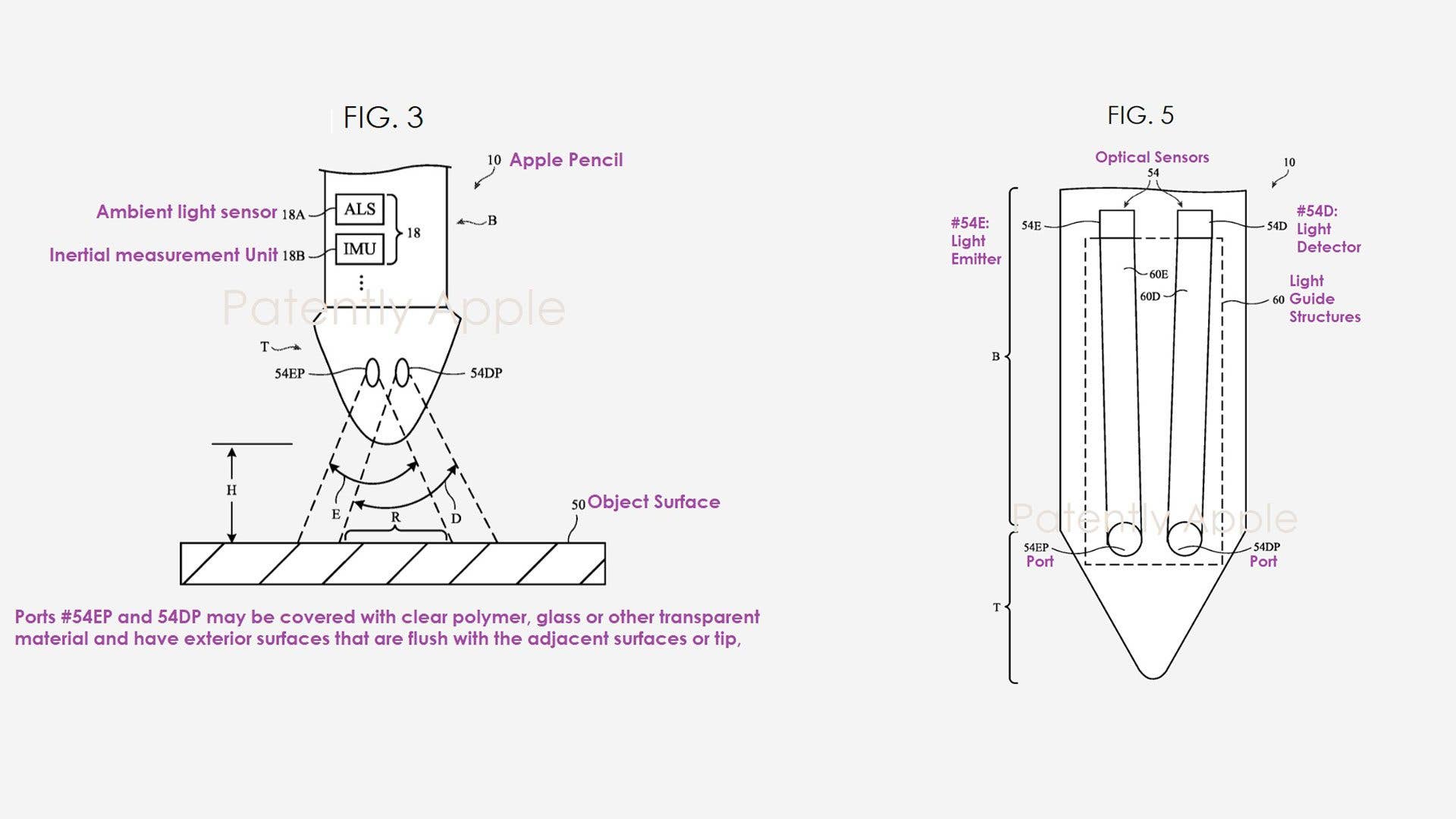
According to Patently Apple who spotted the published patent, Apple is working on a next-gen Pencil capable of sampling a color in actual surfaces before feeding the result to a separate device such as an iPad. The Cupertino giant plans to enable this by equipping the Pencil with an optical sensor and light emitter components similar to digital color devices.
Surface-detecting Apple Pencil
Not only colors can be possibly taken from surfaces but also the types of texture by just hovering the pen. This is where the wave-guided emitter becomes useful as discrepancies in the surface can be measured through the amount of light captured back by the set of detectors.
The patent didn’t detail on how the replaceable tips will be utilized with this type of Pencil. But it can be seen on the sketches of different end points with the color sensors built inside the shaft and the LED components found around the conical portion of the pen.
It’s still unclear when we can see an Apple Pencil with the aforementioned color sampling functionalities. But given these accompanying technologies are already present on other devices, we may probably see this arriving on an Apple device in a few years.
Apple is reported to be releasing OLED iPad Pro tablets in 2024. There is also speculation that an iPad Ultra with a 16-inch display is in development inside Apple’s laboratories. But other details about this giant tablet are still thin on the ground. Would you consider buying one if it launches?
We mark partner links with this symbol. If you click on one of these links or buttons–or make a purchase through them–we may receive a small commission from the retailer. This doesn’t affect the price you pay, but it helps us keep nextpit free for everyone. Thanks for your support!
what if I sample a Pantone color without paying for the pantone app rights?
Log in to Reply
That’s an interesting question, given the basic Pantone has a free color sampler, I think that would be okay, only that you can’t add it to your portfolio.
what if I sample a Pantone color without paying for the pantone app rights?
That’s an interesting question, given the basic Pantone has a free color sampler, I think that would be okay, only that you can’t add it to your portfolio.